Home| FAQ Search:Advanced|Person|Company| Type|Class Login
Quick search:
Patent number:
Patent Date:
first    back  next  last
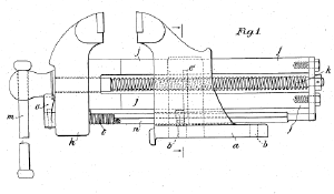
US Patent: 1,391,913
Quick Release Bench Vise
Bench Vise
Patentee:
Maurice William Smith (exact or similar names) - Lyndhurst, Hoddesdon England

USPTO Classifications:

Tool Categories:

Assignees:
None

Manufacturer:
Not known to have been produced

Witnesses:
Unknown

Patent Dates:
Applied: May 07, 1920
Granted: Sep. 27, 1921

Patent Pictures:
Pat. Fig. 1
USPTO (New site tip)
Google Patents
Report data errors or omissions to steward Carl Matthews

Copyright © 2002-2026 - DATAMP