Home| FAQ Search:Advanced|Person|Company| Type|Class Login
Quick search:
Patent number:
Patent Date:
first    back  next  last
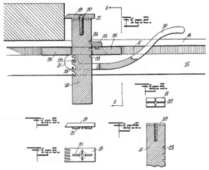
US Patent: 972,610
Adjustable Bench-Dog
Patentee:
Joseph Fletcher (exact or similar names) - Brick School, NC

USPTO Classifications:
144/307

Tool Categories:
work holding : workbench devices : bench stops

Assignees:
None

Manufacturer:
Not known to have been produced

Witnesses:
Thomas S. Inborden
Isadore Martin

Patent Dates:
Applied: Dec. 31, 1909
Granted: Oct. 11, 1910

Patent Pictures:
USPTO (New site tip)
Google Patents
Report data errors or omissions to steward Jeff Joslin (dm)

Copyright © 2002-2025 - DATAMP