Home
|
FAQ
Search:
Advanced
|
Person
|
Company
|
Type
|
Class
Login
Quick search:
Patent number:
Patent Date:
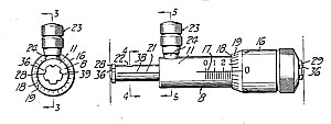
US Patent: 2,085,380
Micrometer
Patentee:
Ernest Muller (
exact
or
similar
names) - Oakland, CA
USPTO Classifications:
33/821
Tool Categories:
metalworking tools
:
machinist tools
:
measuring tools
:
micrometers
Assignees:
None
Manufacturer:
Not known to have been produced
Witnesses:
none listed
Patent Dates:
Applied:
Jun. 29, 1935
Granted:
Jun. 29, 1937
Patent Pictures:
USPTO
(New site tip)
Google Patents
Report data errors or omissions to steward Joel Havens
Description:
Joseph B. Gardner - patent attorney
Copyright © 2002-2026 - DATAMP