Home| FAQ Search:Advanced|Person|Company| Type|Class Login
Quick search:
Patent number:
Patent Date:
first    back  next  last
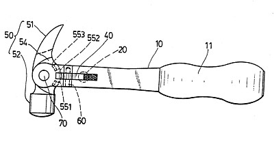
US Patent: 5,280,738
Hammer with Angle Adjustable Head
Patentee:
Mou-Tang Liou (exact or similar names) - Ta-Li Hsiang, Taichung Hsien Taiwan

USPTO Classifications:
81/177.8, 81/177.9, 81/20

Tool Categories:
woodworking tools : hammers : hammer handles

Assignees:
None

Manufacturer:
Unknown

Witnesses:
none listed

Patent Dates:
Applied: Jul. 12, 1993
Granted: Jan. 25, 1994

Patent Pictures:
USPTO (New site tip)
Google Patents
Report data errors or omissions to steward Joel Havens
Lee Valley featured patent

Copyright © 2002-2026 - DATAMP