Home| FAQ Search:Advanced|Person|Company| Type|Class Login
Quick search:
Patent number:
Patent Date:
first    back  next  last
US Patent: 929,662
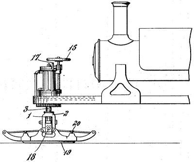
Logging-engine
Patentee:
Alexander Dunbar (exact or similar names) - Woodstock, NB Canada

USPTO Classifications:
280/14, 280/28.17, 280/7

Tool Categories:
transportation : logging trucks
propulsion and energy : steam engines

Assignees:
None

Manufacturer:
Alex. Dunbar & Sons Co., Ltd. - Woodstock, NB Canada

Witnesses:
J. Norman W. Winslow
G. L. Balmain

Patent Dates:
Applied: Dec. 07, 1908
Granted: Aug. 03, 1909

Patent Pictures:
USPTO (New site tip)
Google Patents
Report data errors or omissions to steward Joel Havens
"Vintage Machinery" entry for Alex. Dunbar & Sons Co., Ltd.
Description:
The primary innovation is a steam engine that can be leveled as it moves up or down a hill to avoid the water in the boiler from leaving tubes uncovered, which can damage the boiler.

An advertisement in the 1909-01-02 Canada Lumberman and Woodworker features this logging engine, made by Alex. Dunbar & Sons Co., Ltd.

Copyright © 2002-2025 - DATAMP