Home| FAQ Search:Advanced|Person|Company| Type|Class Login
Quick search:
Patent number:
Patent Date:
first    back  next  last
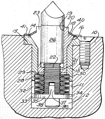
US Patent: 3,349,648
Adjustable boring tool
Patentee:
William S. Holloway (exact or similar names) - Cumberland Hill, Providence County, RI

USPTO Classifications:
408/154

Tool Categories:
metalworking tools : boring bars

Assignees:
Madison Industries, Inc. - Pawtucket, Providence County, RI

Manufacturer:
Madison Industries, Inc. - Pawtucket, Providence County, RI

Witnesses:
Unknown

Patent Dates:
Applied: Jun. 07, 1966
Granted: Oct. 31, 1967

Patent Pictures:
USPTO (New site tip)
Google Patents
Report data errors or omissions to steward Joel Havens

Copyright © 2002-2025 - DATAMP