Home| FAQ Search:Advanced|Person|Company| Type|Class Login
Quick search:
Patent number:
Patent Date:
first    back  next  last
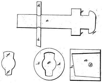
US Patent: 3,387
Bedstead-fastening
Patentee:
Joseph Guild (exact or similar names) - Cincinnati, OH

USPTO Classifications:
5/302

Tool Categories:
household : furniture : beds and bedsteads

Assignees:
None

Manufacturer:
Not known to have been produced

Witnesses:
E. Singer
William Clauson

Patent Dates:
Granted: Dec. 20, 1843

Patent Pictures:
USPTO (New site tip)
Google Patents
Report data errors or omissions to steward Jeff Joslin
Description:
A few years later this inventor patented the "graduated stroke" mortising machine, patent 9,431.

Copyright © 2002-2026 - DATAMP