Home| FAQ Search:Advanced|Person|Company| Type|Class Login
Quick search:
Patent number:
Patent Date:
first    back  next  last
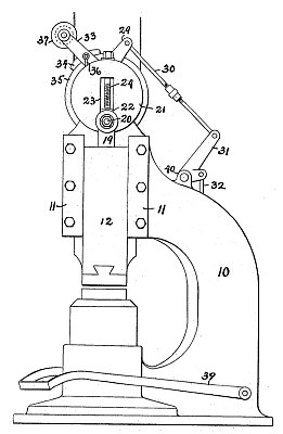
US Patent: 693,324
Power Hammer
Patentee:
Arthur W. Johnson (exact or similar names) - Chicago, Cook County, IL

USPTO Classifications:
72/450, 74/44

Tool Categories:
metalworking machines : forging machines : power hammers

Assignees:
Leola A. Johnson - Chicago, Cook County, IL

Manufacturer:
Not known to have been produced

Witnesses:
R. E. Smale
C. L. Redfield
Howard A. Redfield
Carlos Escobar

Patent Dates:
Applied: Apr. 30, 1900
Granted: Feb. 11, 1902

Patent Pictures:
USPTO (New site tip)
Google Patents
Report data errors or omissions to steward Joel Havens

Copyright © 2002-2026 - DATAMP