Home| FAQ Search:Advanced|Person|Company| Type|Class Login
Quick search:
Patent number:
Patent Date:
first  previous  back  next  last
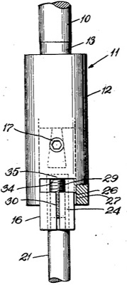
US Patent: 2,338,626
Tool chuck
Patentee:
George W. Emrick (exact or similar names) - Brooklyn, NY

USPTO Classifications:
279/83

Tool Categories:
metalworking machines : drilling and boring : drill presses : drill press chucks
woodworking machines : wood drilling and boring : drill presses : drill press chucks

Assignees:
None

Manufacturer:
ETTCO Tool Co., Inc. - Brooklyn, NY

Witnesses:
Unknown

Patent Dates:
Applied: Nov. 20, 1942
Granted: Jan. 04, 1944

Patent Pictures:
USPTO (New site tip)
Google Patents
Report data errors or omissions to steward Jeff Joslin
Vintage Machinery entry for ETTCO Tool Co., Inc.

Copyright © 2002-2026 - DATAMP