Home| FAQ Search:Advanced|Person|Company| Type|Class Login
Quick search:
Patent number:
Patent Date:
first    back  next  last
US Patent: 2,452,877
Tool Bit and Holder Therefor
Patentee:
Henry M. Sheridan (exact or similar names) - Erie, Erie County, PA

USPTO Classifications:
407/107

Tool Categories:
metalworking machines : metalworking machine tool holders : insert tool holders

Assignees:
Apex Tool & Cutter Co., Inc. - Shelton, Fairfield County, CT

Manufacturer:
Not known to have been produced

Witnesses:
none listed

Patent Dates:
Applied: Jun. 02, 1945
Granted: Nov. 02, 1948

Patent Pictures: [ 1 | 2 ]
USPTO (New site tip)
Google Patents
Report data errors or omissions to steward Joel Havens
Description:
Abstract:

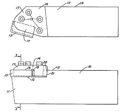
This invention. relates to tool bits and holders therefor, and is particularly concerned with replaceable bits and their holders in which, the cutting tool or bit is removably and adjustably secured within the holder at an angle to the axis thereon. The prime object of the present invention is to provide means by which tool bits of relatively expensive cutting material are secured to a relatively inexpensive holder so as to avoid the expense of a solid one-piece tool. Such bits may be removed for grinding and may be discarded and replaced without the expense of replacing the entire tool.

Claim:

A tool holder comprising a shank having an extended portion providing a flat seat with a terminal wall extending in a single plane from said seat, said plane being inclined rearwardly from the plane of the seat and also extending diagonally across said seat, a bit clamp mounted over said seat having a rear wall snugly embracing and conforming to said terminal wall and having an open sided bit receiving recess therein extending inwardly in the direction of said diagonal wall and forming in combination with said seat a bit pocket having a top, bottom, inner end and side wall, and means for forcing said clamp toward said seat, the inner end and side wall of the bit pocket being at right angles to each other, the end wall slanting inwardly at an angle to a perpendicular transverse plane through the shank axis and the side wall slanting longitudinally towards said axis.

Copyright © 2002-2026 - DATAMP