Home| FAQ Search:Advanced|Person|Company| Type|Class Login
Quick search:
Patent number:
Patent Date:
first    back  next  last
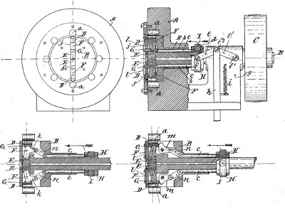
US Patent: 542,020
Swaging-machine
Patentee:
Antoine Jean Langelier (exact or similar names) - Providence, RI

USPTO Classifications:
72/76

Tool Categories:
metalworking machines : metal swaging machines

Assignees:
None

Manufacturer:
Langelier Mfg. Co. - Providence, RI

Witnesses:
F. W. Corden
Socrates Scholfield

Patent Dates:
Applied: Oct. 13, 1894
Granted: Jul. 02, 1895

Patent Pictures:
USPTO (New site tip)
Google Patents
Report data errors or omissions to steward Jeff Joslin
Vintage Machinery entry for Langelier Mfg. Co.

Copyright © 2002-2026 - DATAMP