Home| FAQ Search:Advanced|Person|Company| Type|Class Login
Quick search:
Patent number:
Patent Date:
first    back  next  last
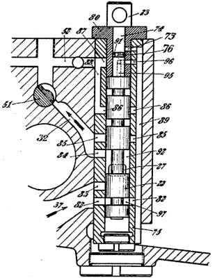
DE Patent: DE-622,974
Steuerung fuer hydraulisch angetriebene werkzeug-, insbesondere bohrmaschinen
Control system for hydraulically driven tool machines, especially drilling machines
Patentee:

USPTO Classifications:

Tool Categories:
metalworking machines : metalworking machine mechanisms : hydraulic apparatus
metalworking machines : drilling and boring : drill presses
woodworking machines : wood drilling and boring : drill presses

Assignees:
Christen & Cie AG - Berne, Switzerland

Manufacturer:
Christen & Cie AG - Berne, Switzerland

Witnesses:
Unknown

Patent Dates:
Applied: Jun. 28, 1931
Granted: Dec. 10, 1935

Patent Pictures:
Espacenet patent
Report data errors or omissions to steward Jeff Joslin

Copyright © 2002-2025 - DATAMP