Home
|
FAQ
Search:
Advanced
|
Person
|
Company
|
Type
|
Class
Login
Quick search:
Patent number:
Patent Date:
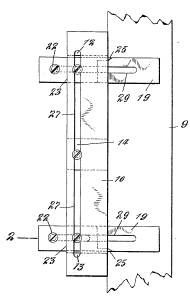
US Patent: 1,114,736
Carpenter's Gage
Butt Gage
Patentee:
James Dick (
exact
or
similar
names) - Flushing, NY
USPTO Classifications:
144/27
,
33/197
Tool Categories:
layout tools
:
marking gauges
:
butt gauges
Assignees:
None
Manufacturer:
Not known to have been produced
Witnesses:
Frank M. Ashley
Minnie S. Miller
Harry G. Hoebig
Patent Dates:
Applied:
Aug. 08, 1913
Granted:
Oct. 27, 1914
Patent Pictures:
USPTO
(New site tip)
Google Patents
Report data errors or omissions to steward Ralph Brendler
Description:
A simple sheet-metal butt hinge marking template.
Copyright © 2002-2026 - DATAMP