Home| FAQ Search:Advanced|Person|Company| Type|Class Login
Quick search:
Patent number:
Patent Date:
first    back  next  last
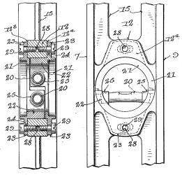
US Patent: 1,435,365
Level
Adjustment for Level Vials
Patentee:
Harry John Zieman (exact or similar names) - Milwaukee, WI

USPTO Classifications:
33/383, 7/164

Tool Categories:
layout tools : levels : level adjustments

Assignees:
None

Manufacturer:
Not known to have been produced

Witnesses:
Unknown

Patent Dates:
Applied: Jan. 31, 1921
Granted: Nov. 14, 1922

Patent Pictures:
USPTO (New site tip)
Google Patents
Report data errors or omissions to steward Ralph Brendler
Description:
This patent covers a new type of level adjustment, where the level vials can be adjust in all axes.

Copyright © 2002-2026 - DATAMP