Home| FAQ Search:Advanced|Person|Company| Type|Class Login
Quick search:
Patent number:
Patent Date:
first    back  next  last
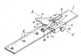
US Patent: 1,402,774
Attachment for Scales
Patentee:
Everett A. La Dow (exact or similar names) - Cleveland, OH

USPTO Classifications:
33/201, 33/485

Tool Categories:
layout tools : special purpose gauges

Assignees:
None

Manufacturer:
Not known to have been produced

Witnesses:
Unknown

Patent Dates:
Applied: Jul. 18, 1919
Granted: Jan. 10, 1922

Patent Pictures:
USPTO (New site tip)
Google Patents
Report data errors or omissions to steward Ralph Brendler
Description:
This simple metal jig attaches to a small scale to allow it to be used as a gauge for grinding drills. It also features a built-in pocket clip.

Copyright © 2002-2026 - DATAMP