Home| FAQ Search:Advanced|Person|Company| Type|Class Login
Quick search:
Patent number:
Patent Date:
first    back  next  last
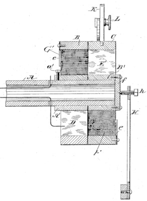
US Patent: 382,845
Commutator for Dynamo-Electric Machines
Patentee:
Nikola Tesla (exact or similar names) - New York, NY

USPTO Classifications:
310/219

Tool Categories:

Assignees:
Charles F. Peck - Englewood, NJ
Nikola Tesla - New York, NY

Manufacturer:
Not known to have been produced

Witnesses:
Unknown

Patent Dates:
Applied: Apr. 30, 1887
Granted: May 15, 1888

Patent Pictures:
USPTO (New site tip)
Google Patents
Report data errors or omissions to steward Jeff Joslin

Copyright © 2002-2026 - DATAMP