Home| FAQ Search:Advanced|Person|Company| Type|Class Login
Quick search:
Patent number:
Patent Date:
first    back  next  last
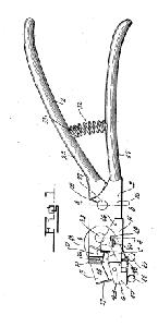
US Patent: 1,450,220
Saw setting tool
Patentee:
Charles Niesman (exact or similar names) - Freeport, IL

USPTO Classifications:
76/64

Tool Categories:
woodworking tools : handsaws : saw sharpening tools : saw sets

Assignees:
None

Manufacturer:
Unknown

Witnesses:
Unknown

Patent Dates:
Applied: Jun. 03, 1921
Granted: Apr. 03, 1923

Patent Pictures: [ 1 | 2 ]
USPTO (New site tip)
Google Patents
Report data errors or omissions to steward Mark Conley
The Saw Set Collectors Resource

Copyright © 2002-2026 - DATAMP