Home| FAQ Search:Advanced|Person|Company| Type|Class Login
Quick search:
Patent number:
Patent Date:
first    back  next  last
US Patent: 1,267,456
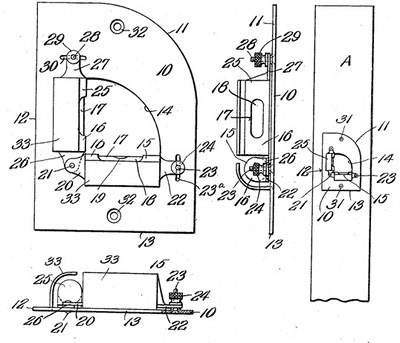
Leveling instrument
Patentee:
Andrew P. Runge (exact or similar names) - Blue Island, IL

USPTO Classifications:
33/383

Tool Categories:
layout tools : levels

Assignees:
None

Manufacturer:
Unknown

Witnesses:
Charles Odenthal
Edward E. Diefenbach

Patent Dates:
Granted: May 28, 1918

Patent Pictures: [ 1 | 2 | 3 | 4 | 5 | 6 ]
USPTO (New site tip)
Google Patents
Report data errors or omissions to steward Jeff Joslin
Description:
A couple of examples are reported, labeled "U B A. / PAT. MAY 28.18".

From April 1922 National Hardware Bulletin page 119. "The Union Level Sales, Chicago, announce the U. B. A. level, this they say can be used for all kinds of work, rough or fine, light or heavy, for leveling girders and wall plates, plumbing studs, door and window jambs and for determining grades and pitches. It is only 3½ x 4 inches, small enough to be carried in the pocket, and for using is fastened by screws to any length straight edge. It is finished all nickel or nickel and black, rust proof, and retails at $1.25."

The October 1921 The Carpenter has an ad from The Union Level Sales Co., 1979 W. 111th St., Chicago, for the U.B.A. Level.

Copyright © 2002-2026 - DATAMP