Home| FAQ Search:Advanced|Person|Company| Type|Class Login
Quick search:
Patent number:
Patent Date:
first    back  next  last
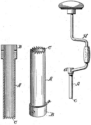
US Patent: 254,286
Hollow auger
Patentee:
Frederick S. Dellenbaugh (exact or similar names) - New York, NY

USPTO Classifications:
408/204

Tool Categories:
woodworking tools : hand drills : drill bits : hollow bits

Assignees:
None

Manufacturer:
Not known to have been produced

Witnesses:
John H. Renshawe
Hamilton Hamilton

Patent Dates:
Applied: Apr. 21, 1881
Granted: Feb. 28, 1882

Patent Pictures:
USPTO (New site tip)
Google Patents
Report data errors or omissions to steward Jeff Joslin

Copyright © 2002-2026 - DATAMP