Home| FAQ Search:Advanced|Person|Company| Type|Class Login
Quick search:
Patent number:
Patent Date:
first    back  next  last
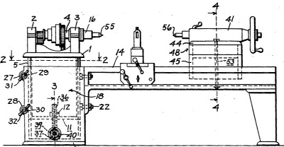
US Patent: 1,327,604
Vertically-adjustable engine-lathe
Patentee:
Augustus C. Booth (exact or similar names) - Los Angeles, CA

USPTO Classifications:
82/142, 82/149

Tool Categories:
metalworking machines : metal lathes

Assignees:
None

Manufacturer:
Not known to have been produced

Witnesses:
Unknown

Patent Dates:
Applied: May 13, 1918
Granted: Jan. 06, 1920

Patent Pictures:
USPTO (New site tip)
Google Patents
Report data errors or omissions to steward Jeff Joslin

Copyright © 2002-2026 - DATAMP