Home| FAQ Search:Advanced|Person|Company| Type|Class Login
Quick search:
Patent number:
Patent Date:
first    back  next  last
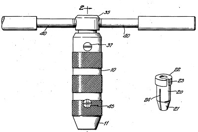
US Patent: 2,351,232
Stud setting and removal tool
Patentee:
Samuel Schnabolk (exact or similar names) - Paterson, NJ

USPTO Classifications:
279/156, 279/53, 81/114, 81/177.5, 81/177.85, 81/53.2

Tool Categories:
specialty tools : stud drivers

Assignees:
None

Manufacturer:
Kalon Mfg. Corp. - Brooklyn, NY

Witnesses:
Unknown

Patent Dates:
Applied: Mar. 18, 1942
Granted: Jun. 13, 1944

Patent Pictures:
USPTO (New site tip)
Google Patents
Report data errors or omissions to steward Jeff Joslin
Description:
The Kalon Mfg. Co. seems to be best remembered as a manufacturer of children's coin banks, but they also made this stud-setting tool; a "Kalon" stud-setting kit is explicitly labeled with this patent number along with "Kalon Mfg. Corp. / 35 Broadway / Brooklyn 11, N. Y."

Copyright © 2002-2025 - DATAMP