Home| FAQ Search:Advanced|Person|Company| Type|Class Login
Quick search:
Patent number:
Patent Date:
first    back  next  last
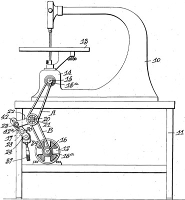
US Patent: 2,287,450
Belt tightener
Patentee:
Robert B. Price (exact or similar names) - Tulsa, OK

USPTO Classifications:
474/89

Tool Categories:
woodworking machines : woodworking machine mechanisms : woodworking power transmission

Assignees:
None

Manufacturer:
Not known to have been produced

Witnesses:
Unknown

Patent Dates:
Granted: Jun. 23, 1942

Patent Pictures:
USPTO (New site tip)
Google Patents
Report data errors or omissions to steward Jeff Joslin

Copyright © 2002-2026 - DATAMP