Home| FAQ Search:Advanced|Person|Company| Type|Class Login
Quick search:
Patent number:
Patent Date:
first    back  next  last
CA Patent: CA-440,074
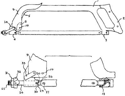
Hacksaw frame
Patentee:
John Guenther (exact or similar names) - Unknown, Unknown Canada

USPTO Classifications:

Tool Categories:
metalworking tools : hacksaws

Assignees:
None

Manufacturer:
Not known to have been produced

Witnesses:
Unknown

Patent Dates:
Granted: Mar. 11, 1947

Patent Pictures:
CIPO Data
Espacenet patent
Report data errors or omissions to steward Jeff Joslin
Description:
Improvement is a quick tension release mechanism for blade changing or repositioning.

The patent does not give the inventor's location. The patent is unassigned. We could not find any other patents, e.g., US patents, granted to the same inventor so his location remains unknown.

Copyright © 2002-2026 - DATAMP