Home| FAQ Search:Advanced|Person|Company| Type|Class Login
Quick search:
Patent number:
Patent Date:
first    back  next  last
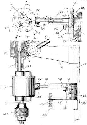
US Patent: 968,718
Tapping or drilling attachment
Patentee:
Verner J. Wahlstrom (exact or similar names) - New York, NY

USPTO Classifications:
470/182, 74/377, 74/421R

Tool Categories:
metalworking machines : drilling and boring : tapping heads and chucks

Assignees:
Bernard T. Burchardi - Brooklyn, NY
Verner J. Wahlstrom - Brooklyn, NY

Manufacturer:
Wahlstrom Tool Co. - New York, NY

Witnesses:
A. White
P. N. Tilden

Patent Dates:
Applied: Jul. 14, 1909
Granted: Aug. 30, 1910

Patent Pictures:
USPTO (New site tip)
Google Patents
Report data errors or omissions to steward Jeff Joslin
Vintage Machinery entry for Wahlstrom Tool Co.

Copyright © 2002-2025 - DATAMP