Home| FAQ Search:Advanced|Person|Company| Type|Class Login
Quick search:
Patent number:
Patent Date:
first  previous  back  next  last
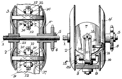
US Patent: 703,237
Variable Friction Gearing
Patentee:
Edward P. Cowles (exact or similar names) - Warren, Trumbull County, OH

USPTO Classifications:
475/192, 476/40

Tool Categories:
metalworking machines : metalworking machine mechanisms : metalworking variable speed mechanisms

Assignees:
None

Manufacturer:
Not known to have been produced

Witnesses:
C. D. Williamson
W. B. Awager
Fenton S. Belt
Arthur L. Bryant

Patent Dates:
Applied: Dec. 07, 1900
Granted: Jun. 24, 1902

Patent Pictures: [ 1 | 2 ]
USPTO (New site tip)
Google Patents
Report data errors or omissions to steward Joel Havens
Description:
Abstract:

This invention relates to improvements in variable-speed friction-gearing; and the object of the invention is to provide a mechanism in which the adjustment of the friction power-transmitter relative to the driving or driven elements to vary the speed of the latter will be effected practically automatically.

Claim:

In a device for changing speed, two parallel, rotatable wheels or disks, a friction-roller supported between and arranged to engage both said disks to transmit motion from one to the other, and means for adjusting the plane of rotation of said friction-roller angularly to its normal tangent position at its point of contact to cause said roller to traverse said wheels or disks in opposite directions toward or from their centers.

Copyright © 2002-2025 - DATAMP