Home| FAQ Search:Advanced|Person|Company| Type|Class Login
Quick search:
Patent number:
Patent Date:
first    back  next  last
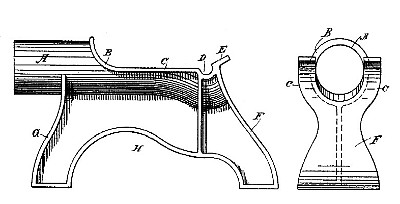
US Patent: D21,545
Engine Frame
Patentee:
Daniel Best (exact or similar names) - San Leandro, Alameda County, CA

USPTO Classifications:
92/161, D15/5

Tool Categories:
propulsion and energy : internal combustion engines : engine bases

Assignees:
None

Manufacturer:
Best Mfg. Co. - San Leandro, Alameda County, CA

Witnesses:
C. H. Gray
N. Henriksen
J. T. Nourse
H. F. Ascheck

Patent Dates:
Applied: Apr. 13, 1892
Granted: May 17, 1892

Patent Pictures:
USPTO (New site tip)
Google Patents
Report data errors or omissions to steward Joel Havens
"Vintage Machinery" entry for Best Mfg. Co.
Description:
Abstract:

My invention consists of a novel design especially adapted for the frame and bedpiece of gas-engines.

Copyright © 2002-2026 - DATAMP