Home| FAQ Search:Advanced|Person|Company| Type|Class Login
Quick search:
Patent number:
Patent Date:
first    back  next  last
US Patent: 3,153,354
Adjustable Tool Head Attachment
Patentee:
John F. Prince (exact or similar names) - Syracuse, Onondaga County, NY

USPTO Classifications:
408/124, 408/145, 451/440, 82/1.2

Tool Categories:
metalworking machines : milling machines : milling machine accessories
metalworking machines : grinders : jig grinders

Assignees:
John F. Prince - Syracuse, Onondaga County, NY
Joseph J. Prince - Syracuse, Onondaga County, NY

Manufacturer:
Prince Tool & Die Lab. - Liverpool, Onondaga County,, NY

Witnesses:
none listed

Patent Dates:
Applied: Dec. 26, 1962
Granted: Oct. 20, 1964

Patent Pictures: [ 1 | 2 ]
USPTO (New site tip)
Google Patents
Report data errors or omissions to steward Joel Havens
Description:
Abstract:

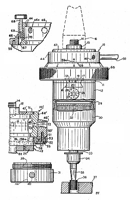
This invention relates to an attachment for boring machines and the like for controlling the radial adjustment of an orbiting tool with respect to the axis of rotation of the machine. More particularly, it relates to a head attachable to a rotating spindle and having a tool carrier transversely adjustable on the head for carrying the tool in an orbital path, and having nonrotating parts for adjusting the orbit of the tool while the head is rotating. Attachments heretofore known for carrying a rotating grinding wheel or a boring tool in an orbital path have the disadvantage that the machine must be stopped before any adjustment can be made to the attachment for changing the path of the tool, or the means provided for controlling the path of the tool is not positive in action for precisely adjusting and maintaining the radius of the circular orbit of the tool. The principal object of die invention, accordingly, is to provide means in such an attachment for precisely controlling the orbital path of a tool, which control means may be adjusted while the attachment is rotating. Another important object is to provide a boring or grinding head adapted to be attached to the rotating spindle of a boring machine or the like, and in which the radial adjustment of the tool may be initially quickly made while the head is at rest and then more precisely and progressively adjusted while the head is rotating. A further object is to provide a boring head in which a boring tool may be secured for travel in a circular path and in which the portion of the head carrying the tool is positively adjustable transversely in either direction with respect to the axis of rotation by a rotating part, which is directly responsive to the adjustment of a non-rotating part, and the tool carrying portion is positively maintained in its adjusted position by the adjusting means. A still further object is to provide a grinding head in which a motor driven grinding wheel may be secured for travel in an orbital path about the axis of rotation of the head and in which the portion of the head carrying the grinding wheel is positively adjustable transversely in either direction with respect to the axis of rotation by a rotating part which is directly responsive to the adjustment of a nonrotating part, and the wheel carrying portion is positively maintained in its adjusted position by the adjusting means.

Claim:

A laterally adjustable grinding and boring attachment for boring machines or the like including a body adapted for coaxial attachment to a rotatable tool head, a tool carrier extending axially from said body, said body having a dovetail guideway extending transversely across its end, a dovetail slide in said guideway secured to and supporting said carrier, a first ring mounted on said body, a second ring carried by said first ring and axially adjustable thereon, said first ring being axially secured on and relatively rotatable with respect to said body, means for preventing the rotation of said rings with said body, and an annular member axially secured on said second ring and relatively rotatable therein, said annular member having a pair of parallel diametrically opposed and oppositely facing camming surfaces, said dovetail slide having a pair of parallel diametrically opposed and oppositely facing camming surfaces in constant engagement with said annular member camming surfaces for inward and outward radial adjustment of said slide with respect to said body, said surfaces being at the same small angle to the axis of rotation of the body, whereby the axial adjustment of the second ring with respect to the first ring positively controls the lateral adjustment of the tool carrier in both directions during rotation of the attachment.

Copyright © 2002-2025 - DATAMP