Home| FAQ Search:Advanced|Person|Company| Type|Class Login
Quick search:
Patent number:
Patent Date:
first    back  next  last
US Patent: 1,563,870
Hack Saw
Patentees:
William C. Reinhardt (exact or similar names) - Racine, Racine County, WI
Arthur W. Lundgren (exact or similar names) - Racine, Racine County, WI

USPTO Classifications:
83/556, 83/647

Tool Categories:
metalworking machines : metal sawing machines : metal cutting bandsaws

Assignees:
Racine Tool & Machine Co. - Racine, Racine County, WI

Manufacturer:
Racine Tool & Machine Co. - Racine, Racine County, WI

Witnesses:
W. Guess
T. P. Brett

Patent Dates:
Applied: May 03, 1923
Granted: Dec. 01, 1925

Patent Pictures: [ 1 | 2 ]
USPTO (New site tip)
Google Patents
Report data errors or omissions to steward Joel Havens
"Vintage Machinery" entry for Racine Tool & Machine Co.
Description:
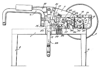
Abstract:

In power driven hack saws as heretofore constructed, difficulty has been encountered due to the dropping of the saw and frame after the completion of the cutting operation, frequently breaking the saw and occasionally injuring the operator. A further difficulty has been experienced in removing the finished work and positioning new work in the machine. The operator usually has to hold or jack up the saw, to maintain it in elevated position while the old work is being removed and the new work inserted.

Claim:

A power driven hack saw comprising a saw frame, means for reciprocating said frame, a pivotally mounted guide for said frame, means for lifting said frame upon the idle stroke, means for releasing said lifting means at the beginning of the working stroke, and other means including a pawl and ratchet for operatively supporting said frame when said lifting means is released to limit the downward motion of said frame during each working stroke.

Copyright © 2002-2026 - DATAMP