Home| FAQ Search:Advanced|Person|Company| Type|Class Login
Quick search:
Patent number:
Patent Date:
first    back  next  last
US Patent: RE1,267
Beer Cooler
Patentees:
Louis Baudelot (exact or similar names) - Harancourt, Ardennes Department, France
Henry Migeon, assignee (exact or similar names) - Wolcottville, Litchfield County, CT

USPTO Classifications:
165/117, 165/DIG.176

Tool Categories:
specialty machines : refrigeration apparatus

Assignees:
Henry Migeon - Wolcottville, Litchfield County, CT

Manufacturer:
George B. Turrell & Co. - New York, NY

Witnesses:
Lemuel W. Serrell
Thomas G. Harold

Patent Dates:
Granted: Jan. 28, 1862
Antedated: Apr. 13, 1856

Patent Pictures: [ 1 | 2 ]
USPTO (New site tip)
Google Patents
Report data errors or omissions to steward Joel Havens
Description:
Abstract:

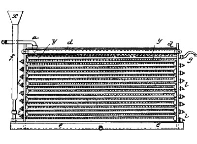
The said cooler or refrigerator consists in a set of tubes placed horizontally one above another to the number of seventeen, and connected and communicating with each other at their alternate ends, but said invention is not limited by any number of tubes, nor by their length, size, or diameter, nor by any particular mode or manner of construction of the said refrigerator, as the same may be made or constructed of any size or form according to requirements and yet produce the same effect. The said invention consists in speedily cooling beer or any other liquid nearly to the degree of the cooling water used at any season of the year by forcing cold Water to run up from the bottom to the top in the inside of the tubes, and the hot beer or liquid falling on the exterior surface from the top to the bottom, or by the same apparatus, with the water and beer or other liquid transposed in position. The said cooler or refrigerator when made is placed in an upright position, and can be formed of either copper, zinc, or any other suitable metal. The said tubes are superposed or placed over each other at about a quarter of an inch apart, while each tube is provided with a plug, l, at each end, which may be taken out for the purpose of cleaning the inside. At the under side of each tube, in the center and over its entire length, is soldered a thin blade in the form-of saw-teeth, so as to serve as a conductor for the liquid falling successively f1 om one tube to the other. From the kettle or boiler, or from any other vessel, the said beer or liquid in the hot or boiling state passes into the tube a, b, is provided with holes, and distributes the beer or liquid over its whole length, from whence lit falls into a trough, the bottom of which is made of very line wire-gauze c in order to retain the scum or loose hops. &c. This trough is situated in the interior of another trough, d, perforated at the bottom over its whole length, with a row of small holes ,near and directly over the top of the first refrigerator-tube, y, and the beer or other liquid divides uniformly and trickles over the exterior surface of the first tube, from whence the liquid falls on the next one, and so on, from one tube to the other down to the bottom tube, and arrives cooled into a large trough, e, in which stands the said refrigerator. Connected with the lowest or bottom tube of the said refrigerator is an upright tube, f, or leader, a little more elevated than the said refrigerator, into which is introduced the cold water, the pressure of which forces the same to run up from tube to tube to the top and last one, whence it comes out, as shown at g, and will have become hot by having abstracted from the beer or other liquid the superfluous heat.

Claim:

A cooling apparatus for liquids composed of a vertical range of pipes, passing one liquid successively from the lower to the upper pipes in said range, in combination with the perforated trough d or its equivalent supplying the other liquid, Which trickles over the surface of said range of pipes.

Copyright © 2002-2026 - DATAMP