Home| FAQ Search:Advanced|Person|Company| Type|Class Login
Quick search:
Patent number:
Patent Date:
first    back  next  last
US Patent: 2,915,317
Measuring, Gauging And Inspection Equipment
Patentee:
Johann Müller (exact or similar names) - Munich, Munich District, Bavaria, Germany

USPTO Classifications:
279/102

Tool Categories:
metalworking tools : machinist tools : measuring tools : comparators

Assignees:
Hans Deckel - Munich, Munich District, Bavaria Germany
Friedrich Wilhelm Deckel - Zug, Zug Canton, Switzerland

Manufacturer:
Not known to have been produced

Witnesses:
none listed

Patent Dates:
Applied: Sep. 17, 1958
Granted: Dec. 01, 1959

Patent Pictures: [ 1 | 2 ]
USPTO (New site tip)
Google Patents
Report data errors or omissions to steward Joel Havens
"Vintage Machinery" entry for Friedrich Deckel GmbH
Description:
Application in Switzerland, 17 Sept., 1958.

Abstract:

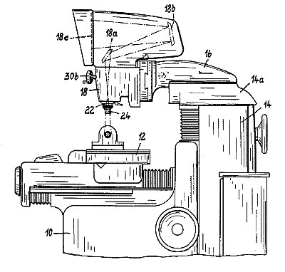
It is the object of the invention to provide inspection and gauging equipment of the said kind with a fitting which will permit the equipment to be adjusted and clamped with a minimum of effort and trouble either in fixed position or for rotation. Another object of the invention is the provision of means which in the case of rotatable equipment will prevent inaccuracies in alignment between individual transmission elements from affecting the true central rotation of the gauging element and from causing dislocations and jamming. The invention also contemplates the provision of means which will permit the gauging element to be affixed and rotated with the help of a single control element so that the operations required for setting up and using the equipment will be reduced to a few simple manipulations. The invention solves the objects set forth above by embodying the fitting for the reception of optionally attachable alternative measuring and gauging elements in a rotatably mounted adapter associated with means for rotating and means for clamping the same in any desired position. According to another feature of the invention the means which establish the connection between the adapter and the cooperating transmission means for imparting rotation thereto are arranged to permit relative radial displacement. To fix the adapter in a given position it is preferred to make use of a member which is fixed to the rotatable adapter, particularly in the form of a fiat ring which can be pressed against a cooperating stationary surface by means of a clamping screw.

Claim:

A holder adapted to releasably receive any one of various measuring and gauging optional attachments, said holder comprising a detachable head, an adapter sleeve mounted in said head so as to be freely rotatable but not displaceable in an axial direction, said adapter sleeve having a central bore including an outwardly tapering outer end portion, a gear ring mounted within said head for rotation independent of the rotation of said adapter sleeve and concentric therewith, manually operable means operatively connected to said gear ring for rotating said gear ring, a cylindrical bushing disposed partly within said gear ring and adapter sleeve, gear teeth means for rotating said bushing in response to rotation of said gear ring, a cone-shaped tubular attachment holder having an outer frusto-conical surface releasably wedged in said tapering bore end portion of said adapter sleeve, thread means for connecting adjacent ends of said holder and bushing and operative to draw said holder into said adapter sleeve in response to operation of said manually operable means, said holder being wedged in said adapter sleeve for rotation therewith in response to subsequent operation of said manually operable means.

Copyright © 2002-2025 - DATAMP