US Patent: 2,524,035
|
| Three-Electrode Circuit Element Utilizing Semiconductive Materials
|
|
Patentees:
|
| John Bardeen (exact or similar names) - Summit, Union County,, NJ |
| Walter H. Brattain (exact or similar names) - Morristown, Morris County, NJ |
|
|
Patent Dates:
|
| Applied: |
Jun. 17, 1948 |
| Granted: |
Oct. 03, 1950 |
|
Patent Pictures:
[
1 | 2
]
|
|
|
USPTO (New site tip) Google Patents
Report data errors or omissions to steward
Joel Havens
|
|
Description: |
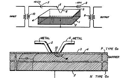
| This is the original patent for the Transistor.
This application is a continuation-in-part of application Serial No. 11,165, filed February 26, 1948, and thereafter abandoned.
Abstract:
This invention relates to a novel method of and means for translating electrical variations for such purposes as amplification, wave generation, and the like. The principal object of the invention is to amplify or otherwise translate electric signals or variations by use of compact, simple, and rugged apparatus of novel type. Another object is to provide a circuit element for use as an amplifier or the like which does not require a heated thermionic cathode for its operation, and which therefore is immediately operative when turned on. A related object is to provide such a circuit element which requires no evacuated or gas-filled envelope.
Claim:
A circuit element which comprises a block of semiconductive material of which the body is of one conductivity type and a thin surface layer is of the opposite conductivity type, an emitter electrode making contact with said layer, a col-b5 lector electrode making contact with said layer disposed to collect current spreading from said emitter electrode, and a base electrode making contact with the body of the block.
|
|