Home| FAQ Search:Advanced|Person|Company| Type|Class Login
Quick search:
Patent number:
Patent Date:
first    back  next  last
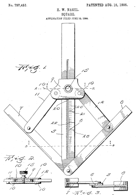
US Patent: 797,453
Square
Adjustable Square, Angle Divider and Square
Patentee:
Henry W. Nagel (exact or similar names) - Vicksburg, MS

USPTO Classifications:
33/455

Tool Categories:
layout tools : bevels

Assignees:
None

Manufacturer:
H.W. Nagel Mfg. - Dayton, KY

Witnesses:
John C. Williams
Julius T. Havis

Patent Dates:
Applied: Jun. 04, 1904
Granted: Aug. 15, 1906

Patent Pictures: [ 1 | 2 | 3 ]
USPTO (New site tip)
Google Patents
Report data errors or omissions to steward Steve Gosselin

Copyright © 2002-2026 - DATAMP