Home| FAQ Search:Advanced|Person|Company| Type|Class Login
Quick search:
Patent number:
Patent Date:
first    back  next  last
US Patent: 1,847,481
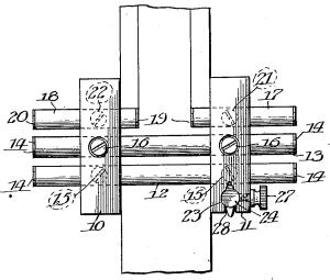
Edge-Guided Scribing Gauge
Patentee:
Earl Hallgren (exact or similar names) - Des Plaines, IL

USPTO Classifications:
33/44

Tool Categories:
layout tools : marking gauges : butt gauges

Assignees:
None

Manufacturer:
Not known to have been produced

Witnesses:
Unknown

Patent Dates:
Applied: Mar. 03, 1927
Granted: Mar. 01, 1932

Patent Pictures:
USPTO (New site tip)
Google Patents
Report data errors or omissions to steward Ralph Brendler
Description:
This is a complex butt gage design, with 4 different arms and two moveable fences. Its main claims involve the use us set screw to prevent the gage from being knocked out of alignment, and using two fences to be able to register off both edges of the door at once.

Copyright © 2002-2026 - DATAMP