Home| FAQ Search:Advanced|Person|Company| Type|Class Login
Quick search:
Patent number:
Patent Date:
first    back  next  last
US Patent: 1,465,230
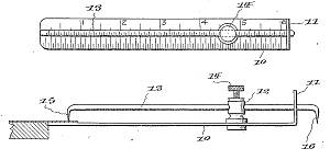
Scribing Tool
Patentee:
August Nikander (exact or similar names) - Detroit, MI

USPTO Classifications:
33/197, 33/42

Tool Categories:
layout tools : marking gauges

Assignees:
Samuel E. Rothstein - Detroit, MI

Manufacturer:
Not known to have been produced

Witnesses:
Unknown

Patent Dates:
Applied: Oct. 26, 1922
Granted: Aug. 14, 1923

Patent Pictures:
USPTO (New site tip)
Google Patents
Report data errors or omissions to steward Ralph Brendler
Description:
This is a simple but interesting marking gage, designed to reference off either an edge or an underhang.

Copyright © 2002-2025 - DATAMP