Home| FAQ Search:Advanced|Person|Company| Type|Class Login
Quick search:
Patent number:
Patent Date:
first    back  next  last
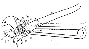
US Patent: 1,771,692
Wrench
Patentee:
Ira Cliff Saunders (exact or similar names) - Oilmont, MT

USPTO Classifications:
81/165, 81/356, 81/361, 81/388

Tool Categories:
wrenches : wrench adjustment types : screw adjust wrenches

Assignees:
None

Manufacturer:
Not known to have been produced

Witnesses:
none listed

Patent Dates:
Applied: Mar. 28, 1928
Granted: Jul. 29, 1930

Patent Pictures:
USPTO (New site tip)
Google Patents
Report data errors or omissions to steward Stan Schulz
Description:
Cited as reference in 4,375,174.

Lacey & Lacey - patent attorneys

Copyright © 2002-2026 - DATAMP