Home| FAQ Search:Advanced|Person|Company| Type|Class Login
Quick search:
Patent number:
Patent Date:
first    back  next  last
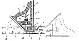
US Patent: 1,984,951
Combination Square
Patentee:
Austin L. Stowell (exact or similar names) - New Britain, CT

USPTO Classifications:
33/464

Tool Categories:
layout tools : squares

Assignees:
The Stanley Works - New Britain, CT

Manufacturer:
The Stanley Works - New Britain, CT

Witnesses:
Unknown

Patent Dates:
Applied: May 28, 1931
Granted: Dec. 18, 1934

Patent Pictures:
USPTO (New site tip)
Google Patents
Report data errors or omissions to steward Ralph Brendler
Description:
This patent further improves Christian Bodmer's square designs (1,213,578, 1,322,086) used for many years by Stanley, bu lengthening the locking shaft so that the head could be swung compeltely around.

Copyright © 2002-2026 - DATAMP