Home| FAQ Search:Advanced|Person|Company| Type|Class Login
Quick search:
Patent number:
Patent Date:
first  previous  back  next  last
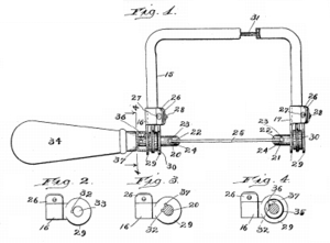
US Patent: 803,694
Scroll-Saw
Patentee:
Arthur Jones (exact or similar names) - Chicago, IL

USPTO Classifications:
30/509

Tool Categories:
woodworking tools : handsaws : coping saws

Assignees:
None

Manufacturer:
Crary Machine Works - Chicago, IL
E. C. Atkins & Co. - Indianapolis, IN

Witnesses:
Charles C. Tillman
A. Gustafson

Patent Dates:
Applied: Mar. 03, 1904
Granted: Nov. 07, 1905

Patent Pictures: [ 1 | 2 ]
USPTO (New site tip)
Google Patents
Report data errors or omissions to steward Jeff Joslin (dm)

Copyright © 2002-2026 - DATAMP