Home| FAQ Search:Advanced|Person|Company| Type|Class Login
Quick search:
Patent number:
Patent Date:
first    back  next  last
US Patent: 399,344
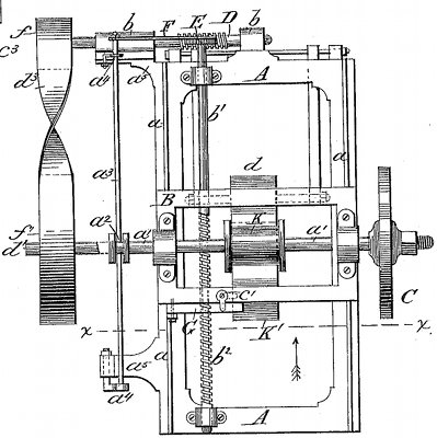
Machine for fitting the ends of band-saws
Patentee:
Jens Moritz Petersen (exact or similar names) - Clinton, IA

USPTO Classifications:
29/DIG.09, 451/120, 451/127, 451/450

Tool Categories:
woodworking machines : bandsaws : bandsaw accessories

Assignees:
None

Manufacturer:
Not known to have been produced

Witnesses:
Robert J. Arnold
Schiller Hosford

Patent Dates:
Applied: Jun. 16, 1888
Granted: Mar. 12, 1889

Patent Pictures:
USPTO (New site tip)
Google Patents
Report data errors or omissions to steward Jeff Joslin
Description:
"My invention relates to machine for fitting the ends of band-saws preparatory to brazing them together; and the invention consists of certain improvements in the machine for which Letters Patents No. 341,939 were granted me..."

Copyright © 2002-2026 - DATAMP