Home| FAQ Search:Advanced|Person|Company| Type|Class Login
Quick search:
Patent number:
Patent Date:
first    back  next  last
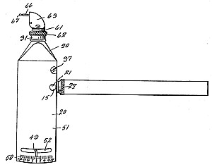
US Patent: 1,206,668
Surface Gage
Patentee:
Ludger J. Caron (exact or similar names) - Leominster, MA

USPTO Classifications:
33/556

Tool Categories:
layout tools : measurement gauges

Assignees:
None

Manufacturer:
Not known to have been produced

Witnesses:
Arthur Caron
Henry I. Caron
Charles H. Trotter
Rohe Meyer

Patent Dates:
Applied: May 14, 1915
Granted: Nov. 28, 1916

Patent Pictures:
USPTO (New site tip)
Google Patents
Report data errors or omissions to steward Joel Havens

Copyright © 2002-2026 - DATAMP