Home| FAQ Search:Advanced|Person|Company| Type|Class Login
Quick search:
Patent number:
Patent Date:
first    back  next  last
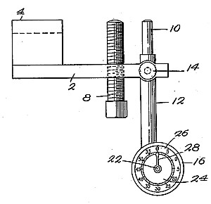
US Patent: 1,839,596
Micrometer
Patentee:
Calvin N. Rouse (exact or similar names) - Kansas City, MO

USPTO Classifications:
33/517, 33/605

Tool Categories:
metalworking tools : machinist tools : measuring tools : micrometers

Assignees:
None

Manufacturer:
Not known to have been produced

Witnesses:
Fred G. Fischer

Patent Dates:
Applied: Jun. 13, 1909
Granted: Jan. 05, 1932

Patent Pictures:
USPTO (New site tip)
Google Patents
Report data errors or omissions to steward Joel Havens
Description:
F. G. Fischer - patent attorney

Copyright © 2002-2026 - DATAMP