Home| FAQ Search:Advanced|Person|Company| Type|Class Login
Quick search:
Patent number:
Patent Date:
first    back  next  last
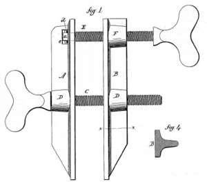
US Patent: 197,672
Improvement in Hand Screw-Clamps
Patentee:
Albert M. Schappa (exact or similar names) - New Haven, CT

USPTO Classifications:
269/220

Tool Categories:
work holding : clamps : hand screws

Assignees:
W. & E. T. Fitch - New Haven, CT

Manufacturer:
Not known to have been produced

Witnesses:
J. H. Shumway
H. A. Kitson

Patent Dates:
Applied: Oct. 26, 1877
Granted: Nov. 27, 1877

Patent Pictures:
USPTO (New site tip)
Google Patents
Report data errors or omissions to steward Jeff Joslin (dm)

Copyright © 2002-2026 - DATAMP