Home| FAQ Search:Advanced|Person|Company| Type|Class Login
Quick search:
Patent number:
Patent Date:
first  previous  back  next  last
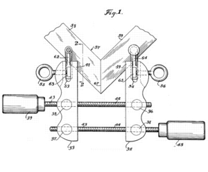
US Patent: 1,809,768
Clamping Device
Patentee:
Max Wetzler (exact or similar names) - New York, NY

USPTO Classifications:
269/220, 269/249, 269/279, 269/37, 269/55, 29/256

Tool Categories:
work holding : clamps : miter and corner clamps
work holding : clamps : hand screws

Assignees:
None

Manufacturer:
Wetzler Clamp Co., Inc. - Long Island City, NY

Witnesses:
Unknown

Patent Dates:
Applied: May 24, 1930
Granted: Jun. 09, 1931

Patent Pictures:
USPTO (New site tip)
Google Patents
Report data errors or omissions to steward Carl Matthews

Copyright © 2002-2026 - DATAMP