Home| FAQ Search:Advanced|Person|Company| Type|Class Login
Quick search:
Patent number:
Patent Date:
first    back  next  last
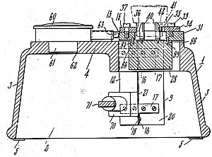
US Patent: 2,363,077
Work Gauge
Patentee:
Willis F. Moore (exact or similar names) - Springfield, VT

USPTO Classifications:
33/199R

Tool Categories:
layout tools : measurement gauges

Assignees:
Bryant Chucking Grinder Co. - Springfield, VT

Manufacturer:
Not known to have been produced

Witnesses:
none listed

Patent Dates:
Applied: May 27, 1943
Granted: Nov. 21, 1944

Patent Pictures:
USPTO (New site tip)
Google Patents
Report data errors or omissions to steward Joel Havens
"Vintage Machinery" entry for Bryant Chucking Grinder Co.
Description:
Wright, Brown, Quinby & May - patent attorneys

Copyright © 2002-2026 - DATAMP