Home| FAQ Search:Advanced|Person|Company| Type|Class Login
Quick search:
Patent number:
Patent Date:
first    back  next  last
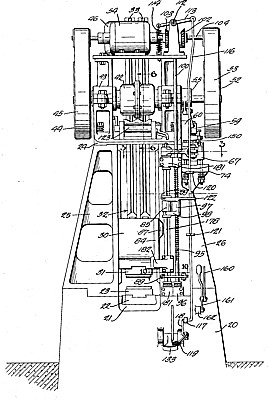
US Patent: 1,954,157
Drop Hammer
Patentee:
Frank J. Vlchek (exact or similar names) - Cleveland, OH

USPTO Classifications:
72/436, 72/438, 72/439

Tool Categories:
metalworking machines : forging machines : drop hammers

Assignees:
Vlchek Tool Co. - Cleveland, OH

Manufacturer:
Not known to have been produced

Witnesses:
none listed

Patent Dates:
Applied: Aug. 22, 1931
Granted: Apr. 10, 1934

Patent Pictures:
USPTO (New site tip)
Google Patents
Report data errors or omissions to steward Joel Havens
Description:
Smith & Freeman - patent attorneys

This invention relates to drop hammers and has for an object the provision of a new and improved construction of this type.

Copyright © 2002-2026 - DATAMP