Home| FAQ Search:Advanced|Person|Company| Type|Class Login
Quick search:
Patent number:
Patent Date:
first    back  next  last
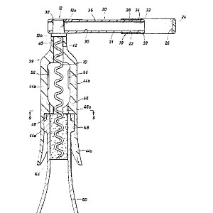
US Patent: 4,703,673
Cork-extracting apparatus
Patentee:
Herbert Allen (exact or similar names) - Houston, TX

USPTO Classifications:
81/3.29, 81/3.45

Tool Categories:
household : cork extractors : self and partial cork pullers

Assignees:
Hallen Co. - Houston, TX

Manufacturer:
Unknown

Witnesses:
Unknown

Patent Dates:
Applied: Apr. 08, 1985
Granted: Nov. 03, 1987

Patent Pictures: [ 1 | 2 ]
USPTO (New site tip)
Google Patents
Report data errors or omissions to steward Mark Woodard

Copyright © 2002-2026 - DATAMP