Home| FAQ Search:Advanced|Person|Company| Type|Class Login
Quick search:
Patent number:
Patent Date:
first    back  next  last
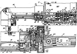
US Patent: 3,920,082
Power tool with torque sensing control means
Patentee:
Edmund C. Dudek (exact or similar names) - St. Charles, IL

USPTO Classifications:
173/182, 73/862.23, 73/862.31, 91/59

Tool Categories:

Assignees:
Thor Power Tool Co. - Aurora, IL

Manufacturer:
Thor Power Tool Co. - Aurora, IL

Witnesses:
Unknown

Patent Dates:
Applied: May 14, 1973
Granted: Nov. 18, 1975

Patent Pictures:
USPTO (New site tip)
Google Patents
Report data errors or omissions to steward Jeff Joslin
Vintage Machinery entry for Thor Power Tool Co.

Copyright © 2002-2026 - DATAMP