Home| FAQ Search:Advanced|Person|Company| Type|Class Login
Quick search:
Patent number:
Patent Date:
first  previous  back  next  last
US Patent: 2,667,820
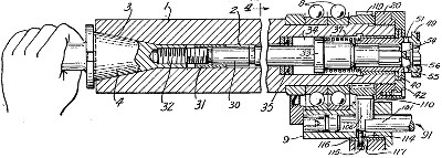
Power tool lock
Patentee:
Charles B. De Vlieg (exact or similar names) - Farmington, MI

USPTO Classifications:
409/233

Tool Categories:
metalworking machines : metalworking machine mechanisms

Assignees:
None

Manufacturer:
DeVlieg Machine Co. - Royal Oak, MI

Witnesses:
Unknown

Patent Dates:
Applied: Dec. 26, 1951
Granted: Feb. 02, 1954

Patent Pictures:
USPTO (New site tip)
Google Patents
Report data errors or omissions to steward Jeff Joslin
Vintage Machinery entry for DeVlieg Machine Co.
Description:
Method of affixing and releasing to a spindle a tool element such as an arbor, chuck, or boring bar.

Copyright © 2002-2026 - DATAMP