Home| FAQ Search:Advanced|Person|Company| Type|Class Login
Quick search:
Patent number:
Patent Date:
first    back  next  last
US Patent: 1,939,023
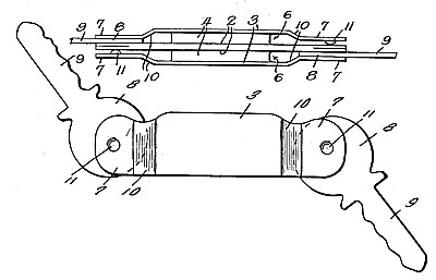
Key Holder
Patentee:
Evan William Pritchard (exact or similar names) - Cleveland, OH

USPTO Classifications:
40/634, 70/457, 70/458

Tool Categories:

Assignees:
None

Manufacturer:
Not known to have been produced

Witnesses:
none listed

Patent Dates:
Applied: Apr. 11, 1933
Granted: Dec. 12, 1933

Patent Pictures:
USPTO (New site tip)
Google Patents
Report data errors or omissions to steward Joel Havens
Description:
Clarence A. O'Brien - patent attorney

The present invention relates to new and useful improvements in holders for keys, particularly automobile, garage and house keys, and has for one of its important objects to provide, in a manner as hereinafter set forth, a holder of this character embodying a novel construction, combination and arrangement of parts through the medium of which rattling of the keys will be prevented as well as swinging of the holder against the instrument board of an automobile when suspended from a key which is inserted in an ignition switch. Another very important object of the invention is to provide a key holder of the aforementioned character embodying a construction, which is such that the keys may be easily attached and detached when desired. Other objects of the invention are to provide a key holder of the character described which will be simple in construction, strong, durable, highly efficient and reliable in use, compact, attractive in appearance and which may be manufactured at low cost.

Copyright © 2002-2026 - DATAMP