Home
|
FAQ
Search:
Advanced
|
Person
|
Company
|
Type
|
Class
Login
Quick search:
Patent number:
Patent Date:
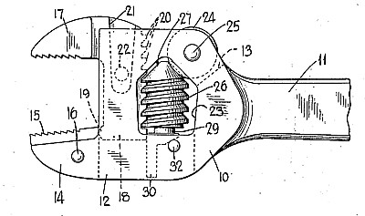
US Patent: 1,747,360
Wrench
Patentee:
Julian A. Giles (
exact
or
similar
names) - Derby, CT
USPTO Classifications:
81/157
,
81/165
Tool Categories:
wrenches
:
wrench adjustment types
:
screw adjust wrenches
Assignees:
None
Manufacturer:
Not known to have been produced
Witnesses:
none listed
Patent Dates:
Applied:
Jul. 17, 1929
Granted:
Feb. 18, 1930
Patent Pictures:
USPTO
(New site tip)
Google Patents
Report data errors or omissions to steward Stan Schulz
Description:
George Eptay - patent attorney
Copyright © 2002-2026 - DATAMP