Home| FAQ Search:Advanced|Person|Company| Type|Class Login
Quick search:
Patent number:
Patent Date:
first    back  next  last
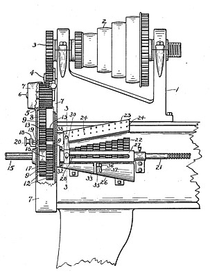
US Patent: 975,748
Gearing for Lathes
Patentee:
Arthur V. Carroll (exact or similar names) - Batavia, Clermont County, OH

USPTO Classifications:
74/348, 74/354

Tool Categories:
industrial machines : industrial machine mechanisms : industrial machine gearing
metalworking machines : metal lathes : engine lathes
metalworking machines : metalworking machine mechanisms

Assignees:
None

Manufacturer:
Carroll & Jamieson Machine Tool Co. - Batavia, Clermont County, OH

Witnesses:
P. A. Jamieson
Frank Davis, Jr.
H. W. Ransom
E. A. Seegers

Patent Dates:
Applied: Jun. 03, 1909
Granted: Nov. 15, 1910

Patent Pictures:
USPTO (New site tip)
Google Patents
Report data errors or omissions to steward Joel Havens
"Vintage Machinery" entry for National Lathe Co.
"Vintage Machinery" entry for Carroll & Jamieson Machine Tool Co.
"Vintage Machinery" entry for A. V. Carroll Machine Tool Co.

Copyright © 2002-2026 - DATAMP